Part Number Hot Search : 
L080TR1 FDS86141 L080TR1 XMXXX HD66420 BR351 ANTX1 TB0549A
Product Description
Full Text Search

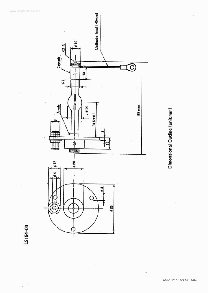
L2194-06 - LED

L2194-06_200589.PDF Datasheet


 Full text search : LED
 Product Description search : LED


 Related Part Number
PART Description Maker
Q62703-Q1353 Q62703-Q1356 Q62703-Q1355 Q62703-Q391 3 mm T1 3/4 LED, Diffused Wide-Angle LED T-1 SINGLE COLOR LED, SUPER RED, 3 mm
3 mm T1 3/4 LED / Diffused Wide-Angle LED
3 mm T1 3/4 LED, Diffused Wide-Angle LED 3毫米T1 3 / 4的LED,扩散广角发光二极管
DIODE SWITCHING SINGLE 240V 225mA-Io 250mW 50ns-trr SOT-323 3K/REEL
3 mm T1 3/4 LED, Diffused Wide-Angle LED
3 mm T1 3/4 LED Diffused Wide-Angle LED
SIEMENS AG
SIEMENS[Siemens Semiconductor Group]
Q62703-Q1996 Q62703-Q3097 Q62703-Q1871 Q62703-Q148 Symbol LED 5 mm T1 3/4 LED / Partly Diffused
Symbol LED 5 mm T1 3/4 LED Partly Diffused
CYLINDRICAL LED LAMP
Symbol LED 5 mm T1 3/4 LED/ Partly Diffused
Cermet Potentiometer; Series:3296; Track Resistance:20kohm; Resistance Tolerance: /- 10%; Power Rating:0.5W; Operating Temperature Range:-55 C to 150 C; Resistor Element Material:Cermet; Temperature Coefficient: /-100 ppm RoHS Compliant: No
TRIMMER, 25 TURN 2K SINGLE COLOR LED, YELLOW, 5 mm
Symbol LED 5 mm T1 3/4 LED, Partly Diffused SINGLE COLOR LED, YELLOW, 5 mm
Symbol LED 5 mm T1 3/4 LED, Partly Diffused SINGLE COLOR LED, ORANGE, 5 mm
Symbol LED 5 mm T1 3/4 LED, Partly Diffused 符号的LED 5毫米T1 3 / 4的LED,部分漫
SIEMENS[Siemens Semiconductor Group]
SIEMENS AG
Q62703-Q2153 Q62703-Q2156 LY3341-LP LY3341-M Q6270 3 mm T1 LED Non Diffused Super-Bright LED
3 mm T1 LED/ Non Diffused Super-Bright LED
CONN RECEPT 2MM 10POS SIDE ENTRY
3 mm T1 LED, Non Diffused Super-Bright LED 3毫米T1的LED,不扩散超高亮度发光二极
3 mm T1 LED, Non Diffused Super-Bright LED T-1 SINGLE COLOR LED, SUPER RED, 3 mm
3 mm T1 LED, Non Diffused Super-Bright LED T-1 SINGLE COLOR LED, PURE GREEN, 3 mm
3 mm T1 LED, Non Diffused Super-Bright LED T-1 SINGLE COLOR LED, GREEN, 3 mm
Siemens Semiconductor G...
SIEMENS[Siemens Semiconductor Group]
SIEMENS AG
OLD122CP3 OPU850CP OLD122CP3_222CP LED Capsule(LED 浼???????))
LED Capsule(瓶帽LED ,特别适合用作图文检测的传感 发光二极管胶囊(瓶帽状的LED,特别适合用作图文检测的传感器)
LED Capsule(LED 传感膜片)) 胶囊的LED(发光二极管传感器(膜片))
From old datasheet system
OKI SEMICONDUCTOR CO., LTD.
209-930-21-38 209-521-22-38 209-532-21-38 209-501- LED TELEFONSOCKELT5.5 24V GELB
LED TELEFONSOCKELT5.5 12V GRUEN
LED TELEFONSOCKELT5.5 12V GELB
LED TELEFONSOCKELT5.5 12V ROT 发光二极管TELEFONSOCKELT5.5 12V的腐
LED TELEFONSOCKELT5.5 12V BLAU 发光二极管TELEFONSOCKELT5.5 12V的布
LED TELEFONSOCKELT5.5 28V GELB 发光二极管TELEFONSOCKELT5.5 28V的盖尔布
LED T5.5 SLIDE 12V WHITE 发光二极管T5.52V的白
Molex, Inc.
Marl International Limited
TLOU114P TLYU114P TLSU114P Panel Circuit Indicator InGaAlP LED
TOSHIBA InGaAP LED
TOSHIBA InGaAГP LED
TOSHIBA InGaA?P LED
TOSHIBA[Toshiba Semiconductor]
BP280TO5-2.1V-090T BP280TO5-2.1V-090N BP280TO3-5V- T-1 3/4 SINGLE COLOR LED, PURE ORANGE, 5 mm
T-1 3/4 SINGLE COLOR LED, STANDARD RED, 5 mm
T-1 3/4 SINGLE COLOR LED, HIGH EFFICIENCY GREEN, 5 mm
T-1 3/4 SINGLE COLOR LED, HIGH EFFICIENCY RED, 5 mm
T-1 3/4 SINGLE COLOR LED, BLUE, 5 mm
T-1 3/4 SINGLE COLOR LED, AMBER YELLOW, 5 mm
T-1 3/4 SINGLE COLOR LED, ULTRA RED, 5 mm
5 mm, 1 ELEMENT, INFRARED LED, 850 nm
T-1 3/4 SINGLE COLOR LED, PURE GREEN, 5 mm
T-1 3/4 SINGLE COLOR LED, LIME YELLOW, 5 mm
5 mm, 1 ELEMENT, INFRARED LED, 940 nm
5 mm, 1 ELEMENT, INFRARED LED, 880 nm
LEDtronics, Inc.
LEDTRONICS INC
Q62703-Q3833 Q62703-Q2345 Q62703-Q3858 LG5469-EH L LC 5 mm T1 3/4 LED Diffused Low Current LED
LC 5 mm T1 3/4 LED, Diffused Low Current LED 立法毫米T1 3 / 4的LED,扩散低电流LED
LC 5 mm T1 3/4 LED, Diffused Low Current LED 立法5毫米T1 3 / 4的LED,扩散低电流LED
LC 5 mm T1 3/4 LED, Diffused Low Current LED T-1 3/4 SINGLE COLOR LED, YELLOW, 5 mm
LC 5 mm T1 3/4 LED, Diffused Low Current LED T-1 3/4 SINGLE COLOR LED, GREEN, 5 mm
SIEMENS[Siemens Semiconductor Group]
SIEMENS AG
HSMS-A100 HSMC-A100-J00J1 HSMC-A100-P30J1 HSMN-A10 Surface Mount LED Indicator
SINGLE COLOR LED, EMERALD GREEN, 2.2 mm
SINGLE COLOR LED, AMBER, 2.2 mm
SINGLE COLOR LED, RED, 2.2 mm
SINGLE COLOR LED, ORANGE, 2.2 mm
Agilent(Hewlett-Packard...
http://
HP[Agilent(Hewlett-Packard)]
AGILENT TECHNOLOGIES INC
550-5607 550-0707 550-2307 550-5707 550-0207 550-0 5mm LED CBI Circuit Board Indicator Sloped Back Housing with Standoffs
LED 5MM RT ANG SUP CLR YEL PCMNT T-1 3/4 SINGLE COLOR LED, SUPER BRIGHT YELLOW, 5 mm
T-1 3/4 SINGLE COLOR LED, RED, 5 mm
Dialight Corporation
Dialight PLC
561-5301-100F 561-5201-070 561-5101-070 561-1301-0 LED Indicator; Color:Yellow; Luminous Intensity (MSCP):34; Viewing Angle:50 ; Forward Current:20mA; Forward Voltage:2.2V; LED Color:Yellow; Leaded Process Compatible:Yes; Wavelength:590nm T-1 3/4 SINGLE COLOR LED, YELLOW, 5 mm
T-1 3/4 SINGLE COLOR LED, GREEN, 5 mm
T-1 3/4 SINGLE COLOR LED, RED, 5 mm
T-1 3/4 DUAL COLOR LED, RED/GREEN, 5 mm
Dialight PLC
HLMA-SL05 HLMA-SH05 HLMP-S600-A00DG HLMP-S301-B000 HLMA-SL05 · 2 mm x 5 mm Rectangular LED Lamp
HLMA-SH05 · 2 mm x 5 mm Rectangular LED Lamp
HLMP-S600-A00DG · 2 mm x 5 mm Rectangular LED Lamp
HLMP-S301-B0000 · 2 mm x 5 mm Rectangular LED Lamp
HLMP-S301-B00DG · 2 mm x 5 mm Rectangular LED Lamp
HLMP-S301-CDB00 · 2 mm x 5 mm Rectangular LED Lamp
HLMP-S501-DE000 · 2 mm x 5 mm Rectangular LED Lamp
HLMP-S301-C0002 · 2 mm x 5 mm Rectangular LED Lamp
HLMP-S501-C0000 · 2 mm x 5 mm Rectangular LED Lamp
HLMP-S501-D0002 · 2 mm x 5 mm Rectangular LED Lamp
HLMP-S201-D0000 · 2 mm x 5 mm Rectangular LED Lamp
HLMP-S201-E0002 · 2 mm x 5 mm Rectangular LED Lamp
HLMP-S201-EF000 · 2 mm x 5 mm Rectangular LED Lamp
Agilent (Hewlett-Packard)
 
 Related keyword From Full Text Search System
L2194-06 micro L2194-06 ICPRICE L2194-06 programmable L2194-06 purpose L2194-06 enhancement
L2194-06 Datasheet L2194-06 应用线路 L2194-06 Iconline L2194-06 Protect L2194-06 中文简介
 

 

Price & Availability of L2194-06

All Rights Reserved © IC-ON-LINE 2003 - 2022  

[Add Bookmark] [Contact Us] [Link exchange] [Privacy policy]
Mirror Sites :  [www.datasheet.hk]   [www.maxim4u.com]  [www.ic-on-line.cn] [www.ic-on-line.com] [www.ic-on-line.net] [www.alldatasheet.com.cn] [www.gdcy.com]  [www.gdcy.net]


 . . . . .
  We use cookies to deliver the best possible web experience and assist with our advertising efforts. By continuing to use this site, you consent to the use of cookies. For more information on cookies, please take a look at our Privacy Policy. X
1.2712759971619