Part Number Hot Search : 
TK11935 LN506GK MTZJ2V7S 12HSA 13003A SE308 BUS24B C2510
Product Description
Full Text Search

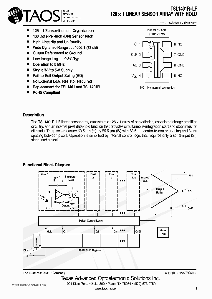
TSL1401R-LF - 128 x 1 LINEAR SENSOR ARRAY WITH HOLD

TSL1401R-LF_5690349.PDF Datasheet

 
Part No. TSL1401R-LF
Description 128 x 1 LINEAR SENSOR ARRAY WITH HOLD

File Size 224.34K  /  12 Page  

Maker

TAOS



JITONG TECHNOLOGY
(CHINA HK & SZ)
Datasheet.hk's Sponsor

Part: TSL1401R-LF
Maker:
Pack:
Stock:
Unit price for :
    50: $5.40
  100: $5.13
1000: $4.86

Email: oulindz@gmail.com

Contact us

Homepage
Download [ ]
[ TSL1401R-LF Datasheet PDF Downlaod from Datasheet.HK ]
[TSL1401R-LF Datasheet PDF Downlaod from Maxim4U.com ] :-)


[ View it Online ]   [ Search more for TSL1401R-LF ]

[ Price & Availability of TSL1401R-LF by FindChips.com ]

 Full text search : 128 x 1 LINEAR SENSOR ARRAY WITH HOLD
 Product Description search : 128 x 1 LINEAR SENSOR ARRAY WITH HOLD


 Related Part Number
PART Description Maker
TSLW1401R EXTENDED TEMPERATURE 128 x 1 LINEAR SENSOR ARRAY WITH HOLD
From old datasheet system
List of Unclassifed Manufacturers
ETC[ETC]
TSL2014 896X1 LINEAR SENSOR ARRAY
ams AG
CCD191 CCD191DC LINEAR CCD IMAGE ARRAY
6000 Element Linear Image Sensor
Fairchild Semiconductor
TSL1410R 1280 x 1 LINEAR SENSOR ARRAY WITH HOLD
TAOS
TSL1406RS TSL1406 TSL1406R 768 X 1 LINEAR SENSOR ARRAY WITH HOLD
List of Unclassifed Manufacturers
ETC[ETC]
TAOS
GPV100.0UR011V1 GPV100.0UR301V1 GPV002.0UR011V0 GP POSITION, LINEAR SENSOR-ABSOLUTE, 50-2540mm, 10-0V
POSITION, LINEAR SENSOR-ABSOLUTE, 50-2540mm, 0-10V
POSITION, LINEAR SENSOR-ABSOLUTE, 50-2540mm, 4-20mA
POSITION, LINEAR SENSOR-ABSOLUTE, 50-2540mm, -10-10V
POSITION, LINEAR SENSOR-ABSOLUTE, 50-2540mm, 20-0mA
POSITION, LINEAR SENSOR-ABSOLUTE, 50-2540mm, 0-20mA
POSITION, LINEAR SENSOR-ABSOLUTE, 50-2540mm, 20-4mA
POSITION, LINEAR SENSOR-ABSOLUTE, 50-2540mm, 10-(-10)V
POSITION, LINEAR SENSOR-ABSOLUTE, 50-5080mm
POSITION, LINEAR SENSOR-ABSOLUTE, 50-7620mm
MTS Sensors
MTS SYSTEMS CORP
AAT3220IGY-18-T1 AAT3220IGY-23-T1 AAT3220IGY-20-T1 150mA NanoPower LDO Linear Regulator
150mA NanoPower?/a> LDO Linear Regulator
150mA NanoPowerLDO Linear Regulator
CAP 8.0PF 50V .25 PF NP0(C0G) SMD-1206 TR-7 PLATED-NI/SN
128 x 128 pixel format, LED or EL Backlight available 150mA的NanoPower⑩LDO线性稳压器
http://
Advanced Analogic Technologies, Inc.
LVP-100-ZA-2.5-SR7 LVP-50-GA-5-SA7 LVP-100-GA-5-SR POSITION, LINEAR SENSOR-DC, 100-100mm, 4-20mA, CYLINDRICAL
POSITION, LINEAR SENSOR-DC, 50-50mm, 4-20mA, CYLINDRICAL
POSITION, LINEAR SENSOR-DC, 200-200mm, 4-20mA, CYLINDRICAL
Micro-Epsilon Group
HAL800 HAL800UT-A HAL800UT-K Programmable Linear Hall Effect Sensor 可编程线性霍尔效应传感器
Programmable Linear Hall Effect Sensor MAGNETIC FIELD SENSOR-HALL EFFECT, -1-1mT, 0.35-4.80V, RECTANGULAR, THROUGH HOLE MOUNT
Micronas Semiconductor Holding AG
ILX555K 10680 pixel × 3 line CCD Linear Sensor (Color)
10680pixel x 3line CCD Linear Sensor(Color)
10680 pixel 】 3 line CCD Linear Sensor (Color)
From old datasheet system
10680 pixel 3 line CCD Linear Sensor (Color)
Sony Corporation
 
 Related keyword From Full Text Search System
TSL1401R-LF Protect TSL1401R-LF video monitor TSL1401R-LF Operation TSL1401R-LF toshiba TSL1401R-LF Speed
TSL1401R-LF level TSL1401R-LF terminals description TSL1401R-LF 参数 封装 TSL1401R-LF Source TSL1401R-LF module
 

 

Price & Availability of TSL1401R-LF

All Rights Reserved © IC-ON-LINE 2003 - 2022  

[Add Bookmark] [Contact Us] [Link exchange] [Privacy policy]
Mirror Sites :  [www.datasheet.hk]   [www.maxim4u.com]  [www.ic-on-line.cn] [www.ic-on-line.com] [www.ic-on-line.net] [www.alldatasheet.com.cn] [www.gdcy.com]  [www.gdcy.net]


 . . . . .
  We use cookies to deliver the best possible web experience and assist with our advertising efforts. By continuing to use this site, you consent to the use of cookies. For more information on cookies, please take a look at our Privacy Policy. X
1.6798520088196